Is The World Ready For a ‘Six-Stroke’ Engine?
A patent from Porsche shows it is working on an innovative yet complex new engine based on a six-stroke principle

Genuinely new types of internal combustion engine (ICE) don’t really come around very often. And aside from oddities like the Liquid Piston powerplant and the wild ‘one-stroke’ E-Rex engine, generally, two or four-strokes are enough for us petrolheads.
That isn’t stopping Porsche from having a look at a new engine concept, though, as patent filings for a petrol ICE show what the German giant is calling a six-stroke combustion cycle.

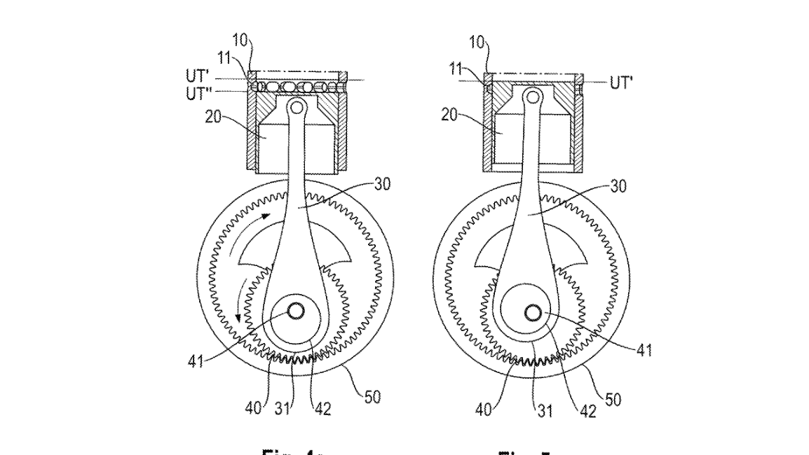
A normal four-stroke engine cycle sees the piston running the bore four times, and during that time one ignition event (or power stroke) takes place. Simply put, and using the words my father used to explain it to a snotty seven-year-old me, it goes ‘suck, squeeze, bang, blow’ with ‘bang’ being the ignition event within the combustion chamber. The new patent from Porsche, which is working alongside the Technical University of Cluj-Napoca, adds an extra compression and combustion event into the four-stroke cycle, taking us into uncharted territory.

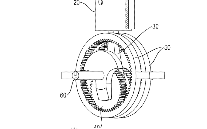
The new type of powerplant does this by featuring a crankshaft that doesn’t rotate around a fixed point, as is typical in all two and four-stroke engine designs. Instead, this engine has a crankshaft that orbits a ring gear within the engine casing, while also rotating on its axis. This rotational action around the ring gear is what gives the engine the extra power pulse, as it now has two top dead centre and two bottom dead centre events within a single combustion cycle. In slightly more simple terms, the patent describes the combustion cycle of the engine as “six individual strokes divided into two three-stroke sequences”. Instead of the traditional ‘intake, compression, ignition, exhaust’ cycle, you end up with ‘intake, compression, exhaust - compression, ignition, exhaust’.
Confused? Yep, so are we!
What are the Pros and Cons?

It’s not hard to pinpoint what the benefits of the system are, and with the march to cleaner engines continuing, the Porsche system could result in more complete combustion events, smartening up emissions and improving the power-per-litre ratio of the engine. That final point means enabling Porsche to use a smaller, and therefore more fuel-efficient, engine, while still hitting the performance targets of a larger capacity unit.

But like any type of mechanical innovation, it obviously has its drawbacks too. The first and most obvious is the insanely complex internals. How much is this thing going to cost to produce, for starters? And is a traditional service centre set up to maintain and repair such an engine? And then we get onto the subject of what happens when one of the internal ring gears, which are going to be put under enormous loads when the engine is at full chat, fail?
And the final point of note on this one is that it is just a patent, many of which live on forever on the cutting room floor. We may never even see this engine run at all, or more importantly, get to hear what a six-stroke engine sounds like!







