Yamaha MT-09 Y-AMT UK Pricing Announed
Yamaha’s much-loved MT-09 will be the first to gain the firm’s switchable automatic gearbox option, and now we know the UK price

Yamaha is the latest brand to jump on the auto-box bandwagon, with its own take on what an automatic motorcycle transmission can be. It has settled on the Y-AMT, and the MT-09 is the first bike to get.
Yamaha has today confirmed that the first bikes will be hitting dealerships in the UK in October this year, and that it is going to be priced at £10,656 (OTR) or £550 more than the stock manual gearbox bike. Colours available will be the same as the manual MT-09, meaning Tech Black, Midnight Cyan, and Icon Blue options.

It's claimed that the Y-AMT system will allow the new bike to “create a unique symbiosis between rider and machine”. To do that, Yamaha is leaving the base specification of the MT-09 as it was when we rode the new bike on the launch earlier this year in Lanzarote. What the Y-AMT system will enable is the ability for the rider to either shift via handlebar-mounted buttons, or utilise the in-built automated shifting schedules, where the bike does all the shifting on the user’s behalf. A bit like Honda’s longstanding Dual Clutch Transmission (DCT), the Y-AMT does away with the need for a clutch lever and gear lever.
You may also like to read our feature on why so many bike manufacturers are turning to automatic motorcycles.
How will the Yamaha – Automated Manual Transmission work on the MT-09

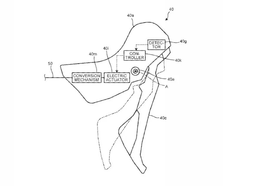
Like some of the other gearbox options available for bikes, the Yamaha system either allows the rider to move through the gearbox via buttons on the handlebar or by utilising one of two automatic shifting schedules. Shifting manually (via the buttons on the bars) is done via the rider's index finger and thumb which press upon a see-saw rockers switch. Like on Honda’s DCT models, this negates the need for a footpeg-mounted gear lever and as with the DCT bikes even in automatic mode, the rider can override the shifts via the buttons on the bar.

Shifting at the business end of the system is allowed by two electric actuators to take on the functions normally carried out by the rider’s left hand and foot. Yamaha claims the system weighs 2.8kg and has been designed to allow for a slim and lightweight installation meaning it can be snuggly installed within the frame without considerably increasing the bike’s width.

A further nod to where the system will be ending up is given further down the press release, with Yamaha advising the system will maximise the “power characteristics of Yamaha’s crossplane engine” designs, going on to name the MT model range as targeted bikes.
This isn’t the first time Yamaha has looked at automatic transmissions for motorcycles, as nearly twenty years ago the YCC-S (Yamaha Chip Controlled Shift) system for the FJR1300 sports tourer was developed. That system featured an automatic hydraulic clutch actuation system allowing the rider to manually change gear using a finger-operated gear lever.








