Honda files patents for leaning three-wheeled motorcycle
Engine and frame based on Honda's NC750 range

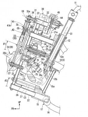
HONDA is working on a leaning three-wheeler like Yamaha's Tricity and Piaggio MP3 scooter - but this one is a motorcycle based on the NC750 platform.
The NC750 platform is already used in a diverse range of machines from the Integra scooter to the NC750X adventure bike.
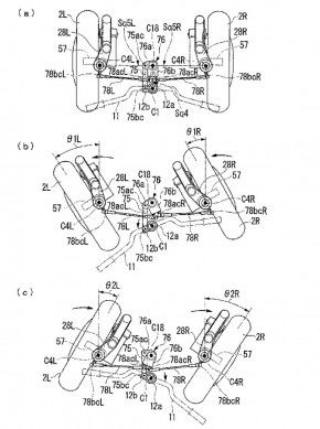
Now patent applications reveal Honda is working on a version with two wheels at the front. As with three wheeled scooters like the Tricity, it would still be able to lean using a 'parallelogram'-style front suspension arrangement, which allow the wheels to move up and down in relation to each other.
The patent diagrams show the front wheels will be smaller than the 17-inch rear, possibly 15-inch.
Details are newly-published on the Japanese Patent Office website.











