Patents Reveal Yamaha E-Turbo CP3 Bike
Yamaha could be following Honda into the world of electronically boosted turbo bikes, as these patents reveal

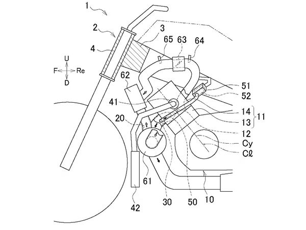
Patents, filed by Yamaha, show that the Iwata factory is eying up the use of electronic turbo (E-turbo) systems, with a potential new CP3-powered bike on the way.
Honda made waves at EICMA last year when it presented its V3 concept, an innovative configuration with an even more interesting aspiration system. Instead of conventional turbo or supercharging, the Honda V3 used an electronically driven turbo - and Honda may not be alone in thinking about utilising it.

The new patent from Yamaha shows a naked bike, with a profile similar to one of the firm’s CP3-powered machines. There isn’t much technical detail given away, with the images instead depicting where and how the system will be integrated into the bike and how the inlets, manifolds and power systems will be positioned.
Why are manufacturers looking to E-turbos over conventional methods?

The move to E-turbos is been partially driven by ever-tightening emissions regulations. With ever more stringent rules that manufacturers must adhere to, squeezing 1,000cc performance from much smaller capacity engines is a very sensible way to go.
An while you may be thinking, “well why not just use a normal turbo?” Conventional turbos fitted to bikes carry their own technical problems. For one thing, space is at a premium on a motorcycle, much more so than in te automotive industry. Turning to an E-turbo means you can, within reason, position business end of the system in a place optimised to make the most of the bike’s svelte packaging.

Conventional turbos, which are most commonly driven by the exhaust gases from the engine, also have two other drawbacks. Heat and lag. Driven by exhaust gases, turbos can reach temperatures of more than 1,000 degrees celsius, and that much heat being emitted from a component, on something as small as a motorcycle, can have big knock-on effects. Exhaust-driven Turbos also suffer from something called turbo lag, which is a situation where the turbo will only give full power once the turbine in the turbo is up to speed - or ‘spooled-up’ if we are using colloquial terminology. Think of turbo lag a bit like riding a small capacity high-performance two-stroke bike. At the bottom of the rev range you’ve got next to power or torque, although it all arrives at once when the engine hits the sweet spot. Turbo lag is a bit like that, when spinning slowly the turbo isn’t boosting the inlet gas enough to make a difference. But once it gets up to speed, all the power arrives in a huge lump.
So if there are so many problems, why not supercharge, like the Kawasaki H2?

Superchargers then, look like an ideal compromise, although they also have their drawbacks, with an increase in the amount of heat being created being one of the biggest. Supercharging also brings with it its own set of packaging problems, and if its driven via the crank of the engine, as is common, manufacturers may only have a couple of places that it could be fitted.
Crucially (and this is at the heart of the interest in E-turbos), both superchargers and turbos cannot be used on demand. E-turbos can. If bike makers want to boost the engine with more power and torque in just a very specific rev window, the E-turbo can be switched on to help plug the performance gap. Indeed, an E-turbo could even be mapped for specific riding modes and even gear ratios, boosting the engine performance for more torque in the lower gears, and optimising it for top-end power in the higher gears. E-turbos offer bike makers a level of adaptability that a wholly mechanical system simply can’t match.
Find the latest motorcycle news on Visordown.com












