KTM reported to be working on a semi-automatic gearbox
The KTM semi-automatic gearbox uses a centrifugal clutch and includes a locking system to prevent the bike from rolling away

KTM looks to be working on a form of semi-automatic gearbox for the next generation of 1290-powered bikes. The system should be able to shift fully autonomously, as well as with the input of the rider.
As this patent relates to the KTM LC8 V-twin, it could make its way onto the 1290 Super Adventure S, Super Adventure R, 1290 Super Duke R and 1290 Super Duke GT.
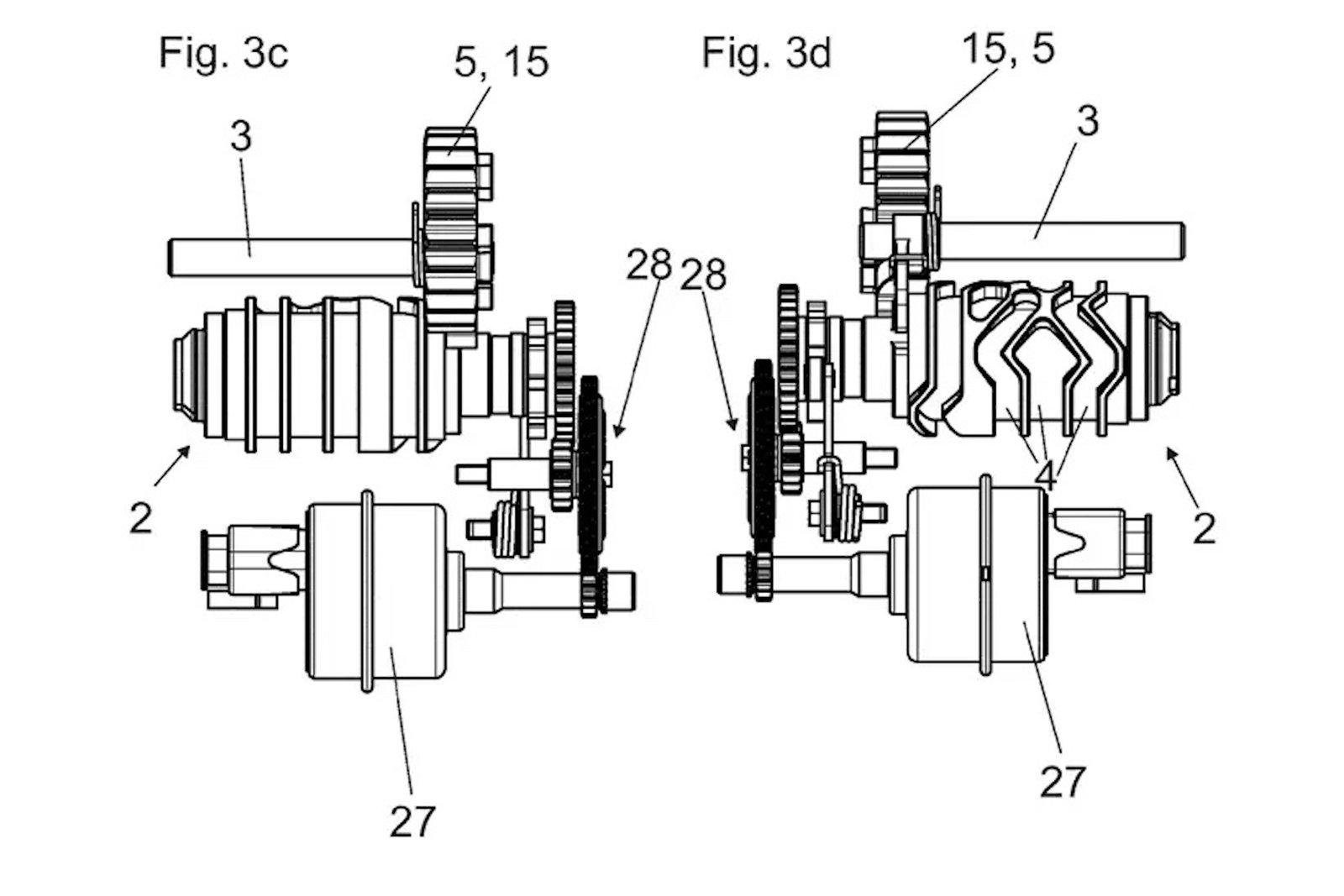
KTM’s take on how a semi-auto box should work isn’t like the Honda DCT system we’ve known for some time now, and instead uses rocker arms, a centrifugal clutch, and a separate gear control unit to shift the gears. Interestingly, the system also comprises a form of a parking brake, that should stop the bike from rolling on a hill, but could also provide some protection from theft.

KTM semi-auto gearbox with a parking brake
First up, the ‘parking brake’, which seems like a simple idea that could actually be very useful. Honda gets around the problem of the bike always being in neutral when switched off by adding a second caliper on the rear brake that’s operated by a cable and a third brake lever. While this does mean the bike can’t roll away of its own accord, it doesn’t stop somebody from flicking off the parking brake and rolling the bike away.
The KTM system though uses an L-shaped lever that physically locks the driven gears in place. If this system can’t be deactivated unless the bike is switched on, it could form a second or even third line of defence against motorcycle theft.
To automatically shift the gears, the system uses a gearshift motor to drive the shift cylinder around. This moves the gear selection forks into the required position to engage the next cog. The system also comprises a centrifugal clutch, allowing the bike to pull away and stop without the need for a hand-operated clutch.
While the patents go into quite a bit of detail around the business end of the system, what they don’t tell us is how the rider will be able to manually shift through the gearbox. On the Honda DCT system, this is done via buttons on the handlebar, although there isn’t a reason for these buttons to be located by your left foot and operated by a conventional brake lever. The buttons on the handlebar are fun for a while, making you feel like you riding something a bit different, but after a while, I do find I’m starting to miss the rider engagement that comes from stomping up and down the ‘box.
KTM 1290 Super Adventure S Review








