Is Kawasaki’s electric bike getting closer?
From the patent images we’ve found, you’d have to agree it is

KAWASAKI is no stranger to electric bikes, back in 2014 they revealed the wild looking J-Concept and looked to be on the cusp of joining the party. But while the rest of the world went E-bike crazy, the team at Kawasaki remained suspiciously quiet. Was that radio silence down to the fact that they were working away diligently behind the scenes on their own battery powered bike?
From the patent drawings we’ve found you’d have to say yes. It looks like the team in Minato have been working on an electric bike, and it doesn’t look far from completion.
Ram-air induction and oil cooling?
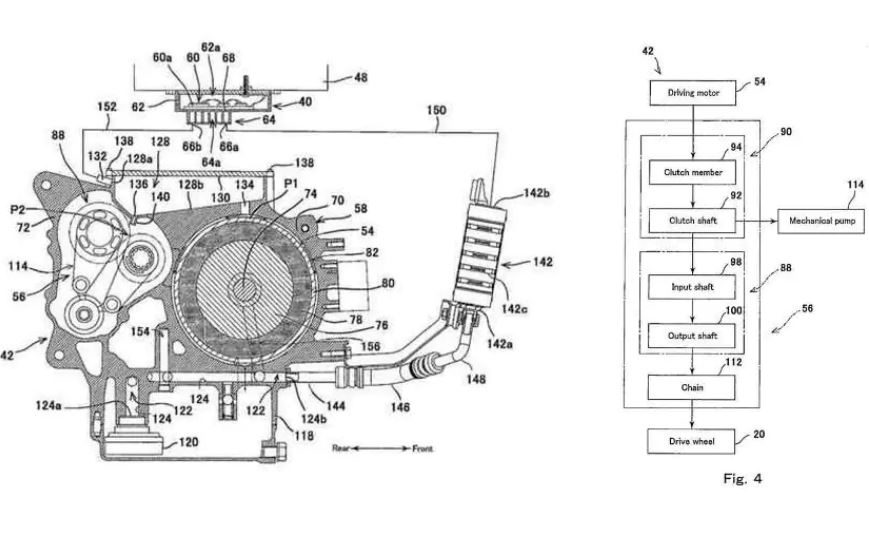
One strange thing we can see from the drawings is the large frontal air-scoop that sits in the same position as the cool-air inlets do on conventional petrol-powered sportsbikes. But as the bike is clearly electric powered why is it there? The only answer can be to cool the motor, battery or maybe both.
With the positioning of the duct being where it is, there is a good chance its primary function is to cool the bike’s batteries, that sit just below where a conventional bikes air-box would go.
It’s not the first time we’ve seen this type of cooling as we first reported on it way back in 2012, although the battery layout was very different back then.
Electric motors, just like their petrol-powered counterparts, generate large amounts of heat and if left untamed can potentially ruin the complex internals of the motor. I once had to spend 20-miles on a new bike launch with the motor in ‘limp mode’, as the electric motor’s temperatures had reached such levels that the bike felt the need to restrict the power.
To help prevent any limping, the Kawasaki has a front mounted oil cooler which runs from a standard looking sump beneath the motor. The oil is pumped around the bottom of the motor and seems to head up inside the casing to deliver cooling oil to the central shaft.
Gears!
Another interesting part of the bike is the inclusion of a clutch, which would seem to point to the inclusion of a gearbox. Whether it’s manually actuated, a fancy electronic DCT style item, or just a reduction gear – we can’t tell.
The reason I find this particularly interesting is that most electric motorcycles on the market run a direct drive off the motors central shaft, making use of a large rear sprocket or belt. And that’s good but means at times the motor is working harder and faster than it needs to. The option of snicking an electric bike into a high gear and allowing the motor to take a breather could allow better range and make the whole experience more engaging, and less scooter-like!
Could it just be smoke and mirrors?
Here’s the thing, you have to take any patent drawing with a pinch of salt. Sometimes this is done to mask the actual application of the item in the drawing and in six-months’ time we’ll see that motor in an outboard motor or cement mixer!
Kawasaki has played around with all sorts of funky patents, from Ninja style sports bikes to odd-ball nakeds but with nothing reaching full-scale production or even prototyping, my guess is they are waiting for the perfect moment to launch it – whatever it is.

.jpeg?width=1600)










