Honda plans carbon-reinforced frames
And uses a CBR600RR for its patent drawing

WE'VE SEEN far too many unfounded rumours of a new CBR600RR to read too much into Honda’s use of that bike’s silhouette in a spate of new patents relating to carbon-reinforced frames.
But if the firm was planning to breathe new life into an ageing design like the CBR600RR, gluing carbon stiffeners to the chassis would a cheap and quick way to add more rigidity without an expensive redesign and retooling for a new chassis.
The firm’s ideas for using carbon fibre to add strength to aluminium frames have emerged across three newly-published patent applications. In each, a CBR600RR is shown with carbon strengthening on part of its chassis.
The first shows a swingarm with carbon fibre glued to its underside, adding more strength in all directions.

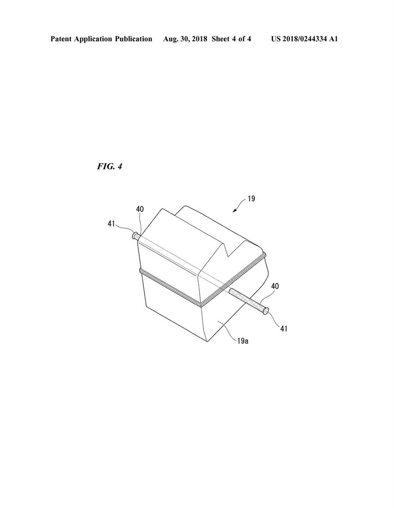
A second patent application reveals a carbon rod mounted crosswise between the frame rails, going through the airbox and bracing the two sides of the chassis.

And a third application is for carbon fibre fillets between the frame rails and steering tube both at the top and the bottom, again adding rigidity.

A variation of this third idea is also illustrated on the aluminium backbone frame of the CB1000R, and the carbon-braced swingarm patent application also shows a second variation featuring the CB1000R’s single-sided arm.
The chances are that Honda simply wants to cover its bases, patenting the idea in as many forms as possible. But it is worth noting that the CBR600RR used in the main illustration for all three patent applications features slightly altered styling compared to any previous model, with a frontal air intake similar to the current RC213V MotoGP bike and fractionally different tail bodywork.
As we’ve said in the past, there’s been little indication that Honda is about to revive the CBR600RR in Europe, even though the model will live on in America in 2019. These new patent applications shouldn’t be taken as evidence that there’s a revamped version on the way, but it won’t hurt to keep our fingers crossed regardless.







