Harley-Davidson patent self-balancing motorcycle tech
Harley-Davidson has filed a patent for a self-balancing mechanism that fits within the bike’s top-box

IF there is one brand above any other that could benefit from a little help when maneuvering at low speeds, it’s Harley-Davidson.
The long and low aesthetic, as attractive as it is, doesn’t lend itself to accurate and low-speed control, especially for new riders!
But help might be on the way, as the team at Harley-Davidson look to have developed a self-balancing system that sits within the bike’s top-box.
Harley-Davidson FXDR review
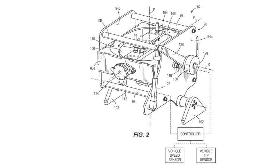
The system comprises a high-speed flywheel that is mounted within a gimbal allowing it to rotate on two axes. Once up to speed, keeping a bike like a Harley upright isn’t an issue, meaning the system seen here would only come into play at walking speed or slower – possibly even helping to steady the bike while stationary.
It’s also worth noting that this is a traditional mechanical gyro, not the same kind we find located in motorcycle IMUs. This one will be spun at up to 20,000rpm by an electric motor and it will be heavy enough that at those speeds it should help keep the bike upright.
How will the gimbal keep the Harley-Davidson upright?
When the bike reaches the desired speed, the electric motor in the system spins the flywheel in preparation for the bike travelling slowly. Next, the system engages and locks the gimbal's roll axis (left to right) connecting it to an actuator that can move the gimbal on the roll axis. The actuator is controlled by a computer, allowing it to tilt left and right to try and combat any unwanted roll at extremely low speeds.
In this way, a rider pulling up to a red light, extending their leg, and then losing their footing on gravel (we’ve all done it) can be rescued or at least thrown a helping hand, by the system shifting the gimbal in the opposite direction.
Despite the flywheel's small size (relative to the bike), The speed it is spinning at and its lofty position on the bike means it should be able to exert more than enough force on the bike to right the situation.











