Dan Gurney’s 250bhp twin
Can an 84-year-old former F1 driver revolutionise the four-stroke?


DAN Gurney is one of those characters who’s achieved more in his lifetime than most of us can ever dream of.
A winner as a driver in F1, Indycar, NASCAR and Le Mans, he’s credited with being the first racer to spray champagne on a podium (they used to just take it as a prize). But he’s more than just a driver, and his engineering credentials include the creation of the Eagle Grand Prix car, which he also drove, and his name is carried on famous engines (the Gurney-Weslake V8) and even an aerodynamic innovation, the Gurney-flap – a small lip at the trailing edge of a wing that can significantly increase the downforce it offers.
More recently, his All American Racers organization has created the feet-forward Gurney Alligator sports bike – which gained praise from Eddie Lawson after a test ride – and built the radical Delta Wing racing car that competed at Le Mans in 2012.
So when we heard his latest project is a radical new motorcycle engine, our ears pricked up.
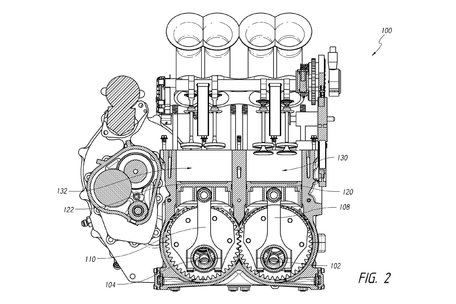
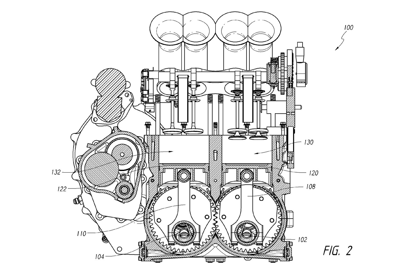
It’s yet to run, but the designs for his new twin-cylinder four-stroke are complete and have turned up some scarcely believable figures during simulations, including power figures of 250bhp and more from the normally-aspirated, 1800cc design.
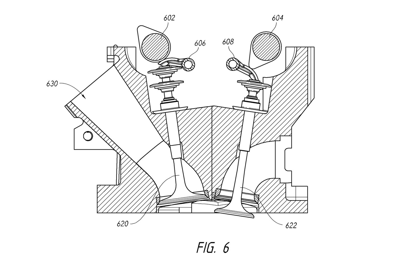
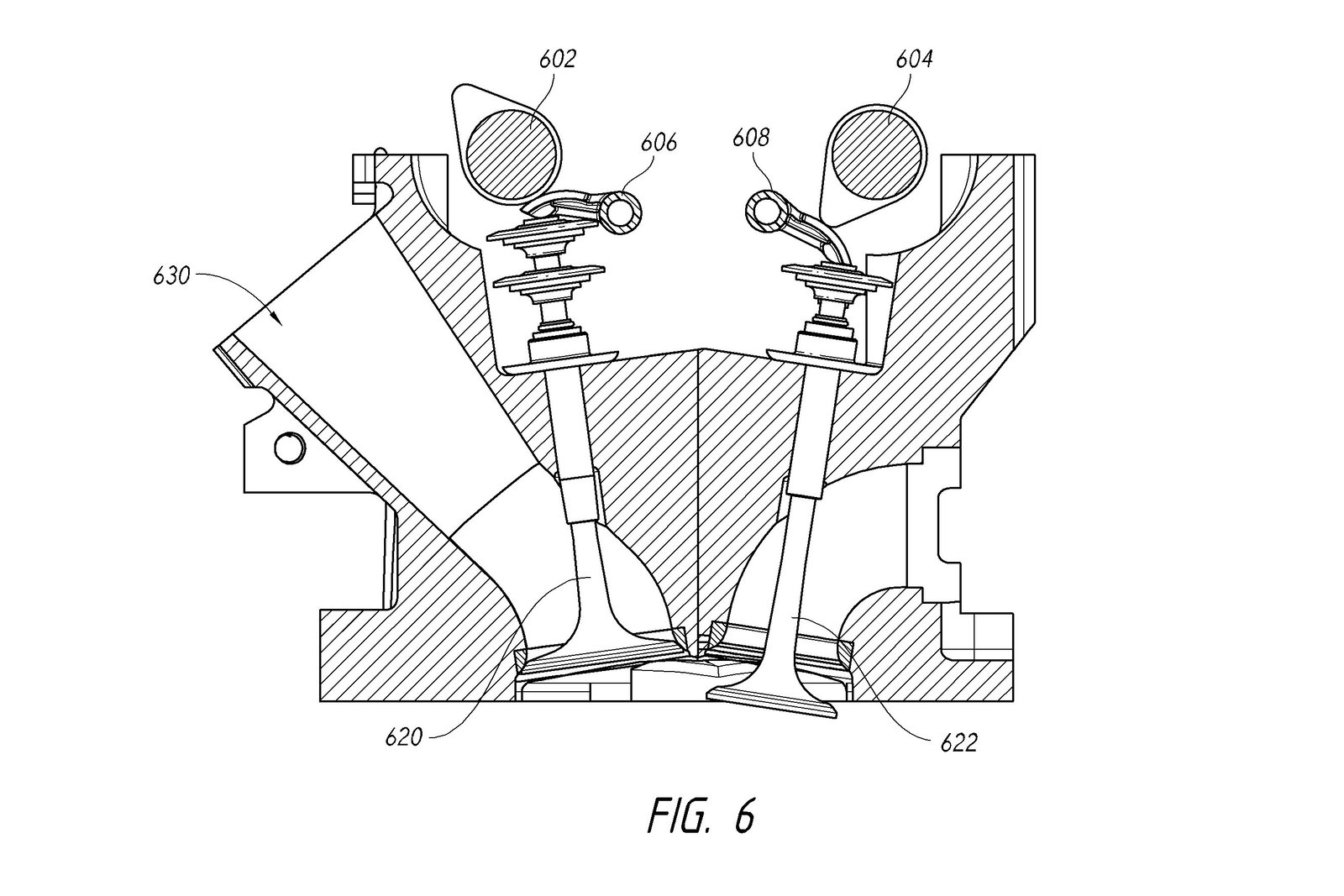
The engine’s layout is unusual but not unheard of. While externally it looks much like a normal parallel twin, it actually has two crankshafts turned 90 degrees to the usual orientation and geared together so they turn in opposite directions to each other. The idea is for the each crankshaft to cancel out the vibrations of the other. It’s an idea that’s been used before, not least on square fours like the Suzuki RG500 and the earlier Ariel Square Four.
Gurney’s patent for the engine – and he’s specific that it’s intended to be a motorcycle engine, presumably with a future iteration of the Alligator (currently powered by an S&S V-twin) in mind – suggests that while the twin crank design will help with the intention of reducing vibration, it’s not the key to its impressive power. Instead, that is down to the cylinder head design, valve configuration and intake porting.
According to the patent, the engine is intended to be mounted with the crankshafts running longitudinally, and their counter-rotation means they’ll cancel out the gyroscopic effect that usually makes longitudinally-mounted engines rock bikes from side to side as they rev.
At the moment, the plan is to make five prototype engines to validate the figures achieved in the computer simulations, with the first due to run before the end of this year.
You can read more about the engine on Gurney’s website.














