New suspension for Piaggio scooters: it comes from the 1700s
Piaggio is developing a new suspension system for its two- and three-wheeled scooters inspired by the invention of an 18th-century inventor.

Piaggio has filed patents for a new scooter suspension system utilising a design first created by James Watt.
As electric motorcycles and cars become more prevalent, the Watt unit of power has become increasingly used to describe the power output of an engine. Even in combustion vehicles, a “kW” (kilowatt) figure will often accompany a horsepower figure.

“Watt” was named after James Watt, a Scottish physicist who lived in the 18th century and originally came up with the unit "horsepower". He was concerned with the common engine of the day: that powered by steam.
Moving 250 years on and we find that one of Watt’s inventions, the Watt's linkage, is being prepared by an Italian manufacturer.
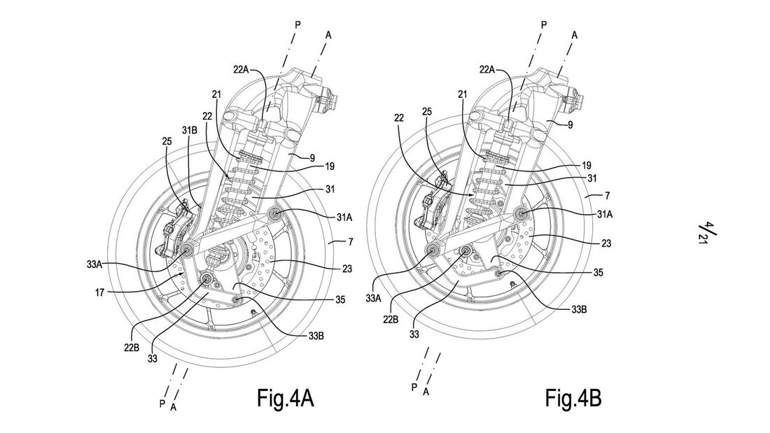
Piaggio is the manufacturer in question, and they have filed patents for the use of a Watt’s linkage-style suspension system on a scooter, according to Motorrad.
The idea of using Watt’s linkage rather than traditional telescopic forks is that the Scottish-born system allows less lateral (sideways) motion of the axle it is attached to.

In theory, this would create a more reactive front end, and perhaps offer a more assured feeling, allowing the rider to be more precise.
The system would also be lighter, and in their drawings Piaggio has both a steel tube system as well as aluminium. From the drawings it is also possible to see that the suspension exists at the wheel, rather than closer to the handlebars like on traditional telescopic forks.
Furthermore, Motorrad reports that the Watt's linkage suspension could be applied to three-wheel scooters as well as two-wheeled ones. The MP3, for example, could be fitted with this alternative solution, as well as perhaps the One electric.
The 2022 New Motorcycle Review Guide





.jpg?aspect_ratio=1:1)

