Honda patents divisive motorcycle crash avoidance system
A newly filed Honda patent reveals a motorcycle steering-assist system that could prevent crashes, but raises serious questions about rider control.

Honda has filed a patent for a motorcycle steering-assist system that borrows one of the car world’s most divisive ideas: letting the vehicle intervene in your direction of travel when it thinks danger is imminent.
And yes, it’s exactly as contentious as it sounds.
We already know electronics can save lives. ABS, traction control, wheelie control and airbags have all been touted as reducing fatalities, both in the two and four-wheeled world. Crucially, though, those systems support rider inputs rather than override them.

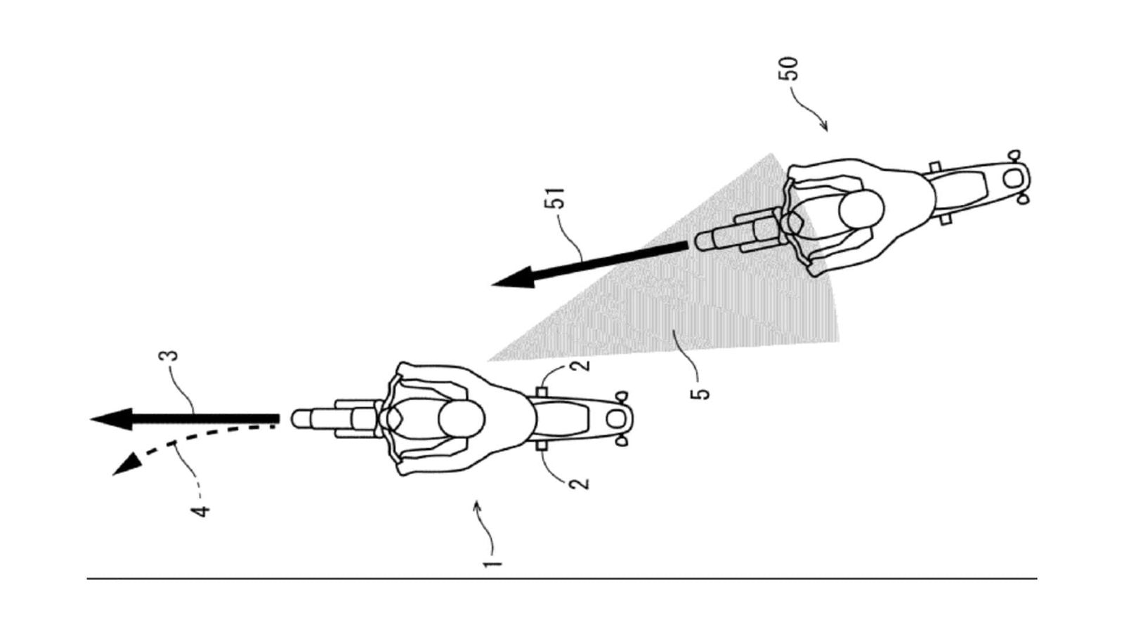
Honda’s latest idea goes further. The patent describes an emergency steering system that uses a camera, blind spot detection, and steering control, to actively nudge the bike away from a perceived hazard. Think of it like a two-wheeled version of the lane-keeping assists that is already commonplace in the four-wheeled world.
Honda envisages two operating modes. If the system detects that the rider is already reacting – either by braking, steering or adjusting the throttle – it intervenes quickly to help redirect the bike. If it believes the rider hasn’t spotted the danger, it applies more steering assistance, aiming to avoid upsetting balance or causing panic.

On paper, it sounds clever. In practice, it raises uncomfortable questions, and there will surely be many riders questioning the system's accuracy and ability to second-guess what is going on. Motorcycling is built on situational awareness. From day one, you’re taught to assume you’re invisible and ride accordingly. Every decision we make is about positioning, observation and escape routes. It’s not clear how well the system will be able to react to changing situations on a busy road, for instance. Avoiding one crash is all well and good, so long as you aren’t sent in the direction of another as a result of the bike’s avoidance.

A system that steers for you risks dulling that edge. Worse, it introduces the idea that something else might decide where your bike goes. Even minor, unexpected inputs at the bars can have serious consequences - we’ve all felt that pang of terror as the bike moves thanks to a pillion shifting their weight around. That could be a regular occurrence with a system like this.
Motorcycling relies on constant judgement, positioning and escape planning, and any system that physically turns the bars risks undermining that awareness, or worse, sending the bike somewhere the rider never intended.
Find the latest motorcycle news on Visordown.com


