CFMoto patents reveal adjustable ergonomics through handlebars and footpegs
CFMoto has filed patents that show handlebars and footpegs that can rise and drop at the push of a button.

CFMoto could be about to revive an idea that was championed by Damon Motors - a motorcycle with adjustable ergonomics thanks to movable handlebars and footpegs.
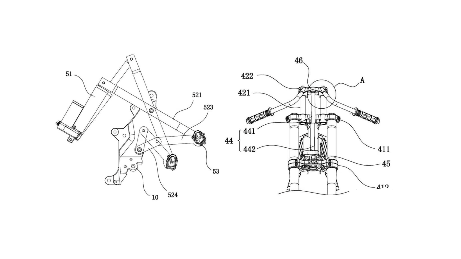
The idea, which could be further advanced than simply patents, may seem highly complex, but the images from CFMoto (uncovered by Moto-Station) make it seem relatively simple. Moreover, the design utilises a conventional USD fork and steering head, meaning it could potentially be retrofitted to existing models.

At the front end, the handlebars are mounted to a floating bracket that sits above the top yoke. Connecting the bracket to the top yoke is a linkage that allows it to change position when electromechanical actuators act upon it. Lower body ergonomics are adjusted thanks to footpegs that pivot through 180 degrees, moving them up and down and fore and aft at the push of a button.

And while some of you reading this may already be asking why, when many motorcycles already have adjustable handlebars and footpeg positions. In existing systems, the footpegs and handlebars have to be removed to be adjusted, and the amount of adjustment on offer is relatively small by comparison. This system, though, could offer a far greater degree of adjustment, and crucially, it could be done at the push of a button and even on the fly.
Think about it, you’ve ridden to a trackday and after hours of hammering around the track, contorted into a Rossi-esque racing tuck, you fancy a slightly less uncomfortable riding position for the ride home. With the CFMoto system routing through the bike’s ECU, it could adjust the bike’s riding position based on the riding mode you are in, enabling it to create a more comfortable and upright stance in road mode, and a more aggressive position in sport.
Obviously, this tech is a fair way from hitting the shelves at the time of writing, although as Damon showed with its vapourware HyperSport, it is something manufacturers are interested in. Whether or not we get to see the CFMoto system on the road remains to be seen, as these patents could just be a case of CFMoto's engineers sticking their name on their homework to prevent anyone else from stealing the idea.
Find the latest motorcycle news on Visordown.com








