Aprilia’s latest patent hints at a new era of rider-assisted aerodynamics
Aerodynamics innovation shows no sign of slowing, and one newly revealed idea could change how road bikes cut through the air - but will road riders feel the benefit?

At this point, it’s hardly controversial to say that aerodynamics is shaping the future of performance motorcycles. Winglets have gone from odd-looking race experiments to near-standard kit on everything from top-level sports bikes to everyday runabouts. But innovation never stops, and engineers are always searching for new ways to balance drag, stability and outright speed.
The next method of doing this may have just broken cover, in the form of a newly published patent from Piaggio. Unsurprisingly, it aims squarely at Aprilia’s sports bike range, showing what looks like a next-gen RSV4. More than that, though, it hints at another possible step forward – and this one doesn’t rely on active aero or complicated electronics. Instead, it focuses on something (almost) every rider already brings to the equation: their legs.
MotoGP leg wings for the road

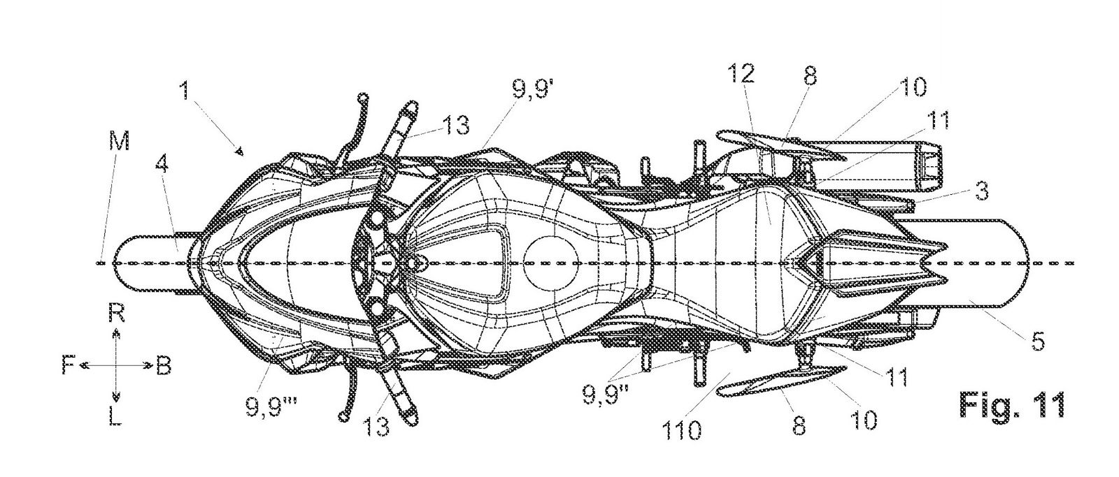
The design revolves around what are essentially enlarged vertical panels mounted near the tail of the bike, roughly where a pillion’s footpegs would reside. In the patent images here, they are highlighted with the number ‘8’. While the idea isn’t entirely unfamiliar (eagle-eyed MotoGP fans will recall similar shapes appearing on factory race bikes across the last couple of seasons), the patent suggests a version intended for road-going machinery.

The purpose of the elements is two-fold, as in a straight line the panels help smooth airflow as it leaves the fairing and travels toward the rear of the bike. By aligning with the outside of the rider’s legs and tapering backwards, they create a cleaner aerodynamic profile, theoretically reducing drag and potentially nudging up top speed or fuel efficiency. It’s not dissimilar to the kind of rider-enveloping bodywork we see on top-speed streamliners, such as the Hayabusa that Guy Martin can be seen riding below.

But it’s when the road starts to twist that things get more interesting – and this is where the real magic of the system starts to happen. As the rider shifts their body into a corner, the inside panel becomes exposed to oncoming air. Shaped like a small aerofoil, and lying almost parallel to the road or track, it can then generate downforce – pressing the bike into the tarmac as the bike leans over, just when grip and stability matter most. Meanwhile, the opposite panel remains shielded by the rider’s leg, preventing conflicting aerodynamic forces on the opposite side of the bike.

It’s a clever bit of thinking: two aerodynamic benefits from a single fixed component, all without the weight, cost or complexity of movable wings. But it is not without its complications. With more load pushing down on the bike in a fast corner, the frame and swing arm might have to be adjusted to allow them to flex and absorb the extra energy generated by the wings. That, though, is something I’m sure Aprilia’s engineers will have looked into.

Perhaps more significantly, the mounting method suggests the concept could be retrofitted to existing designs with relatively minor changes. If that proves realistic, adoption could happen far quicker than with more radical aero concepts – such as inboard winglets or the kind built into the bike’s fairing, as per the latest generation Panigale V4.
But does any of this really matter on the road?
Well, the short answer is no, it’ll make no difference whatsoever. I’ve ridden lots of 1,000cc sports bikes on the road, and I can honestly say I never felt a jot of difference from the winglets whatsoever. I’ve also ridden lots of them on track, and while it’s tricky to put your finger on exactly what they are doing while flying down the main straight at Jerez at near 200mph speeds, I guarantee that if you whipped them off before I pulled the brake lever, I’d have known about it!

What is also slightly confusing about the patent is where it’s going to end up. Manufacturers usually put this stuff on road bikes, so it's a shoo-in on the bikes they race in World Superbike. With Aprilia no longer a factory team in that championship, and its usefulness on the road limited, what exactly is it going to end up on?
While it could be a nice addition for any trackday or club racers, we think it might have a more special, limited edition purpose in life. Aprilia is very keen on releasing super trick, highly limited track-only special editions of the RSV4. We wouldn’t bet against its next track-only wonder bikes appearing with these very leg wings already fitted.
Find the latest motorcycle news on Visordown.com





