Honda reinvents the bath chair
More patent oddity from Honda


It's no secret that the biking population is getting older but this patent from Honda seems to suggest they're working on the solution – something that can keep you on two wheels however decrepit you become.
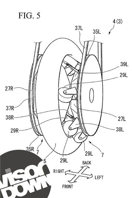
Like the firm's incredible U3-X electric unicycle – here is a video if you haven't seen it in action – the new design actually uses rubber tubes running on internal casters rather than conventional wheels. The casters can be swivelled to move the drive in any direction, rolling the rubber tube sideways if necessary and allowing the bike to move forwards, backwards, sideways or diagonally, or even to spin on the spot. Segway-style balancing electronics keep the whole thing upright as you relax in the swivel chair that sits atop the whole caboodle, controlling it via a couple of levers at your fingertips.
Who knows whether Honda has actually built the device – it probably has, given that the one-wheeled U3X is probably even more complex to make and control – and obviously a production version is unlikely to ever happen. Still, fascinating technology even if it's stretching the definition of a bike a bit.











