Major automotive maker publishes two-stroke engine patent
Quite what General Motors is going to do with it once completed remains a mystery.

If we ran a poll on Visordown tomorrow asking if people prefer two or four-stroke engines, the ringy-dingy two-smoke would win it by a mile. And it almost seems as though engineering companies get it, as they constantly tease us with wacky takes on the theme.
This latest engine, though, isn’t coming from some high-tech engineering company you’ve never even heard of. It comes from one of the biggest car makers on the planet, General Motors.
And while GM probably doesn’t have any interest in putting this in a vehicle with less than four wheels, it is, at least, pleasing to see that a company as big as that is looking at something other than electrification and hydrogen.
The patent looks to address some of the issues that make two-stroke engines less viable options in the modern world: efficiency, emissions, and mechanical longevity.

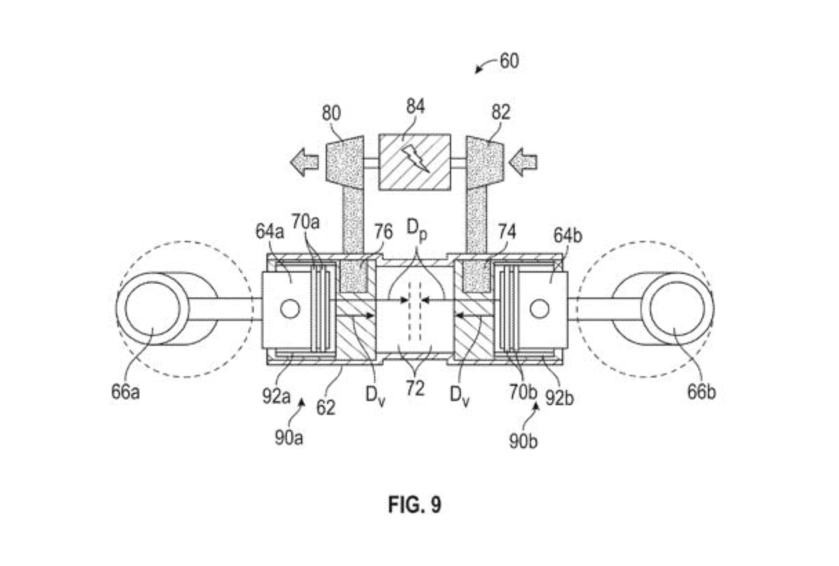
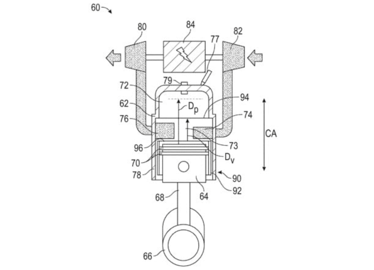
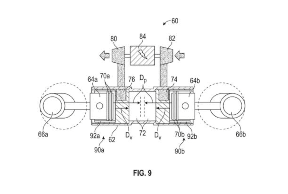
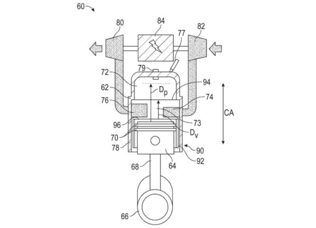
Unlike a traditional two-stroke engine, which features fixed ports in the barrel that are either operated by a reed or rotary valve, the GM design centres around a moveable sleeve that sits between the piston and cylinder wall. The sleeve moves in coordination with the piston, allowing charge air into the cylinder, then sealing for combustion before opening to allow the gases to exhaust.
According to the patent, the movement of the sleeve is facilitated by an actuator, and to aid smooth running within the engine, and less friction and internal wear, the sleeve also aids the piston rings across the face of the valve. Per the patent, the sleeve “ferries” the rings past the port, helping to reduce the risk of the ring touching the port and causing damage and wear and tear.

What isn’t clear at this time is if the system can be used to add a kind of variable valve timing to the two-stroke engine. It doesn’t take too much imagination to think of the sleeve opening the ports by varying amounts at certain points in the rev range, optimising the valve timing for a given rpm.
Now, we have to take this patent with a big pinch of salt. Supposed two-stroke saviours come and go, and almost none of them make it past the early design and technical stage. It is, though, exciting to see a name as big as GM picking up the mantle, and if they do start slotting two-strokes in cars in years to come, hopefully some bike makers will start to do the same!
Find the latest motorcycle news on Visordown.com











