Ducati Could be Next In Line to Launch Alternative Transmissions
Ducati could be the next big name motorcycle maker to change the way we change gear, as these patents reveal

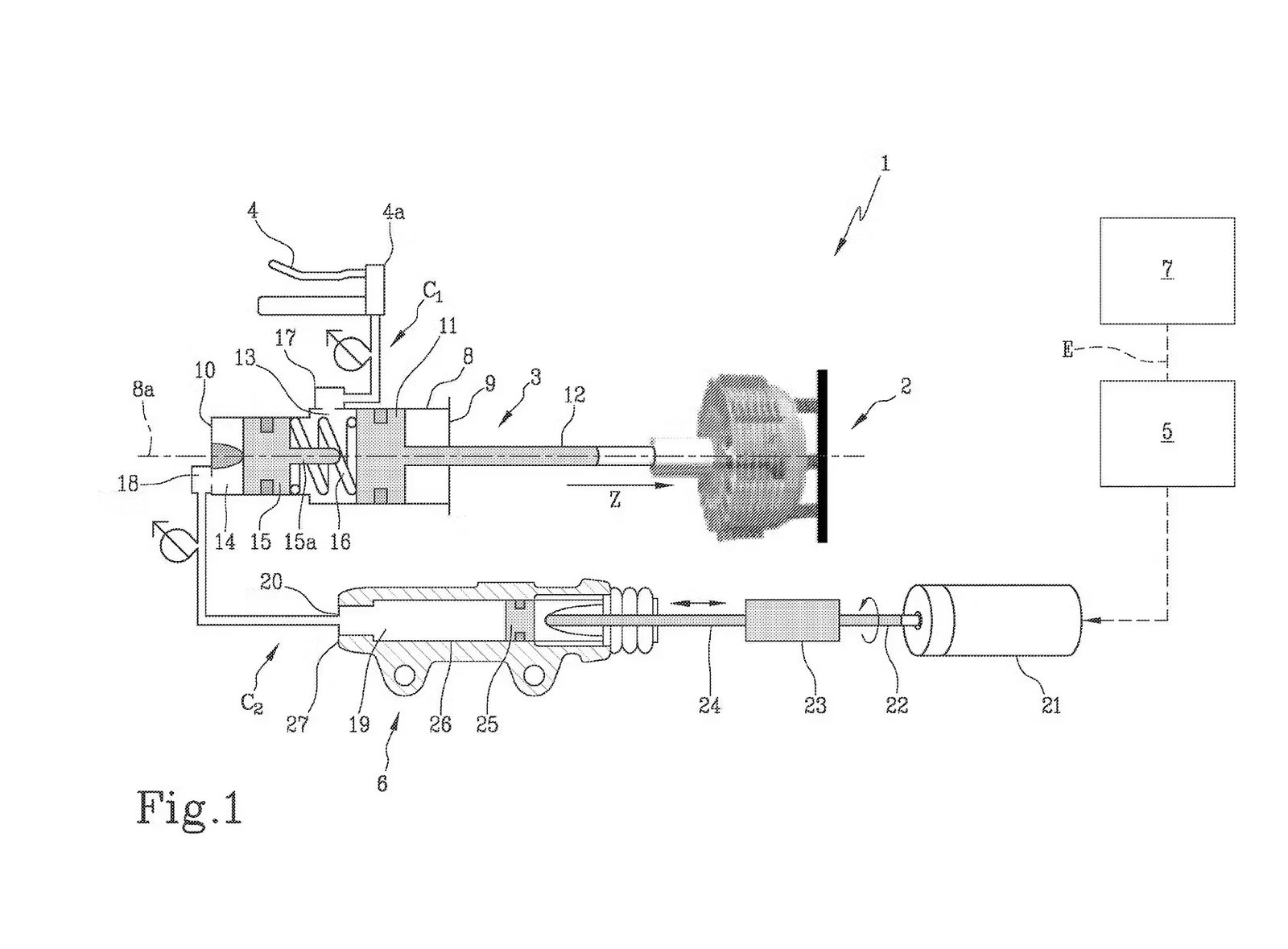
Ducati could be joining BMW, Honda, KTM and Yamaha in the alternative motorcycle gearbox segment, as patents reveal the Borgo Panigale brand’s take on the theme.
And some call this tech an automatic gearbox, but strictly speaking, that isn’t true. Auto gearboxes in the truest, automotive sense of the word use complex fluid flywheels, or, as is the case with Honda's highly successful DCT, multiple clutches to hold on to more than one gear at once. Most of the alternatives we’ve seen from bike makers already are two-wheeled alternatives, and for the most part, they are much smaller, lighter and less complex in their design.
You may also like to read our Yamaha MT-07 Y-AMT review.

The Ducati system seems to be no different, in that it features a conventional hydraulic clutch, with an electromechanical actuator fitted into the system, providing the pressure to engage and disengage the clutch. Ducati’s PR will probably hang me for saying this, but, from a (basic) technical viewpoint, it looks very similar on paper to the Honda E-CLutch system. Albeit without a mechanical arm doing the heavy lifting, and instead, the Ducati design uses a secondary master cylinder mated to an actuator.
I'm also assuming (because I can't see it on the patent) that the system employs a conventional gear lever to allow the rider to shift up and down. As with E-Clutch, the clutch is likely triggered when pressure is applied to the lever, quite possibly via a device not dissimilar to a quickshifter.
You may also like to read our Honda E-Clutch review.
That’s a key point of the system that I, as someone who has tested the E-Clutch system (along with all the other commercially available options) really like, as it retains the ability for the bike to be ridden conventionally, by shifting and clutching normally, or by allowing the bike to work the clutch as the rider just clicks up and down the ‘box.
What the patent image we can see here doesn’t show is whether or not the system allows for any true autonomy, as is found on the Honda DCT and Yamaha Y-AMT bikes. We only see the clutch side of the patent, not the gearbox side. For many bikers, snicking up and down the box manually as you hook together apexes is all part of the fun. With both DCT and Y-AMT, that pleasure is taken away from the rider (as there is physically no clutch lever or gear lever) and while bouncing the through the cogs via buttons on the handlebar is fun for a while, I normally find myself longing for a ‘proper’ transmission once the riding gets really fast.

That’s something that Ducati’s system should, if the patents remain the same, be able to deliver. The ease of use of the bike clutching for you (around town or when plodding along), but still the ability to swap cogs when you're out on the open road. It’s the best of both worlds, although that’s really not a surprise.
Ducati’s bikes are all about the passion, the excitement and the theatre of owning one. Whichever way Ducati goes about implementing the system, you can be sure it’s going to be treading carefully so as not to trample that DNA.
Find the latest motorcycle news on Visordown.com












