Patents show new CFMoto electric sports bike concept
Patents from CFMoto show that the Chinese brand is looking to get into the electric sports bike sector, with a very unusual design.

If you were to pick a segment in which you were to build an electric motorcycle, the chances are you wouldn’t pick the sports bike market. But CFMoto seems to have just done that, as new patent images show it is rustling up an all-new, fully-faired electric machine.
And while the bike shown in the images does indeed resemble the brand’s existing faired offerings, that’s where the similarities end, as this bike seems to be all-new from the wheels up.

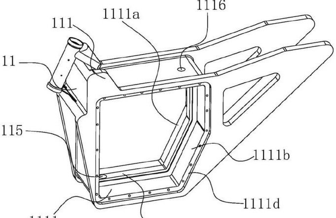
One of the most intriguing features is the frame of it, which does away with a traditional twin-spar or beam frame in favour of something much more innovative. The main frame elements are two sizable plates, which we’d imagine are made from aluminium. They encase the battery compartment on both sides and become the mounting point for the headstock, motor, battery and swingarm. The plates also provide the bike with a sub-frame.

That design alone is unlike most of the other electric bikes on the market right now, which generally utilise a frame that, if you squint a bit, could be thought of as a traditional petrol motorcycle frame. Or bike makers go the completely opposite direction, and use the battery casing as a stressed member and allow that to become the frame - as is the case with LiveWire S2 Del Mar and Mulholland.
What this design does, which the above-mentioned ones do not, is allow for less labour-intensive and time-consuming battery swaps. Be they happening on the fly or during routine maintenance at longer intervals. Having an opening on the side of the bike that you can effectively slide the battery out of makes more sense than dismantling the frame that sits around it, or the whole bike - as is the case with the aforementioned LiveWires.

Another key takeaway from the images is how much of a heat-sink effect the frame will have. Battery heat during riding is a performance killer. The hotter batteries like this get the less they can be pushed, so keeping the cells and other electronics as cool as possible is key in a performance bike such as this.
Along with the funky frame of the CFMoto, the engineers have had a play with the placement of the motor, and that’s had an effect that might help this bike to boast longer run-times than some of the competition.
Instead of mounting the electric motor in front of the swingarm pivot, or making the output shaft of the motor the swingarm pivot - as is sometimes the case - the team at CFmoto have plonked the motor behind it. With the motor behind the pivot and nestled in the swingarm, the battery has more room to spread, meaning this could potentially allow for longer runtimes and possibly faster charging. Another knock-on effect of designing more space is that systems that would be ancillary on more spatially challenged bikes can be incorporated into the design much more cleanly.
That move could open the door to the fastest charging without the need to lug a separate unit around with you, clearing one of the most common hurdles to electric motorcycle uptake.
You may also like to read our best electric motorcycles guide.








